__ _                _                                  _
    / _| |              (_)                                | |
   | |_| |_ _ __   _ __  _  __ ___      ____ _   _ __   ___| |_
   |  _| __| '_ \ | '_ \| |/ _` \ \ /\ / / _` | | '_ \ / _ \ __|
   | | | |_| |_) || |_) | | (_| |\ V  V / (_| |_| | | |  __/ |_
   |_|  \__| .__(_) .__/|_|\__, | \_/\_/ \__,_(_)_| |_|\___|\__|
           | |    | |       __/ |
           |_|    |_|      |___/          respect.for.the.legend
					   
 Welcome to the Atari FTP Archive! We're glad to see you enjoy the best
 computer ever. We are striving to archive as much atari/8bit/demoscene
 related material as possible and we're doing it since 2002 (previously
 known as ftp.atari.art.pl).
 The archive is around 886GB in 941689 files at the moment (2022-04-15).

 Please read welcome.msg for more details.
[ICO]NameLast modifiedSizeDescription

[PARENTDIR]Parent Directory  -  
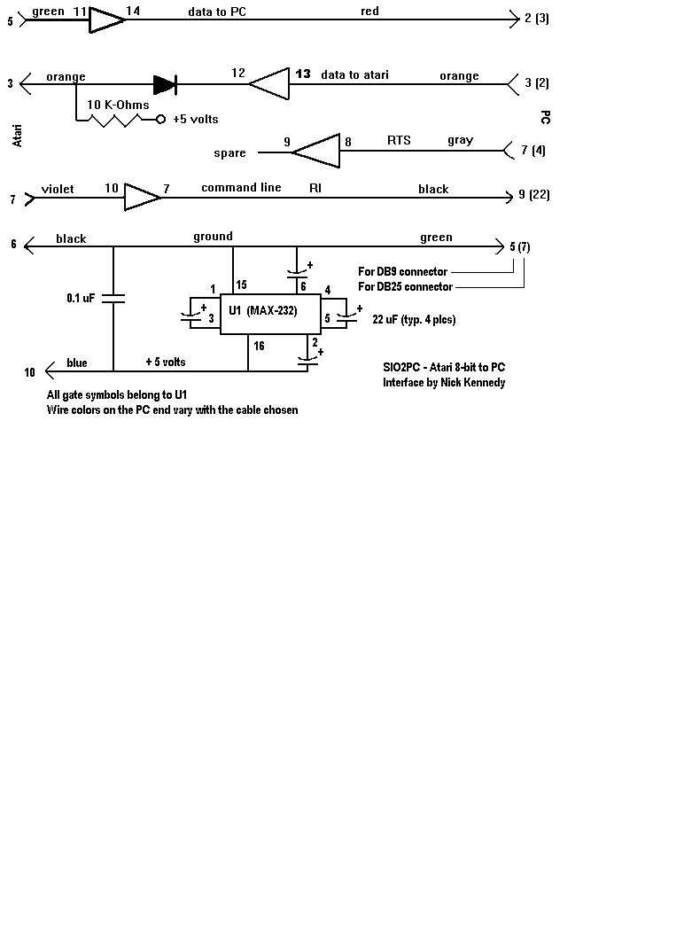
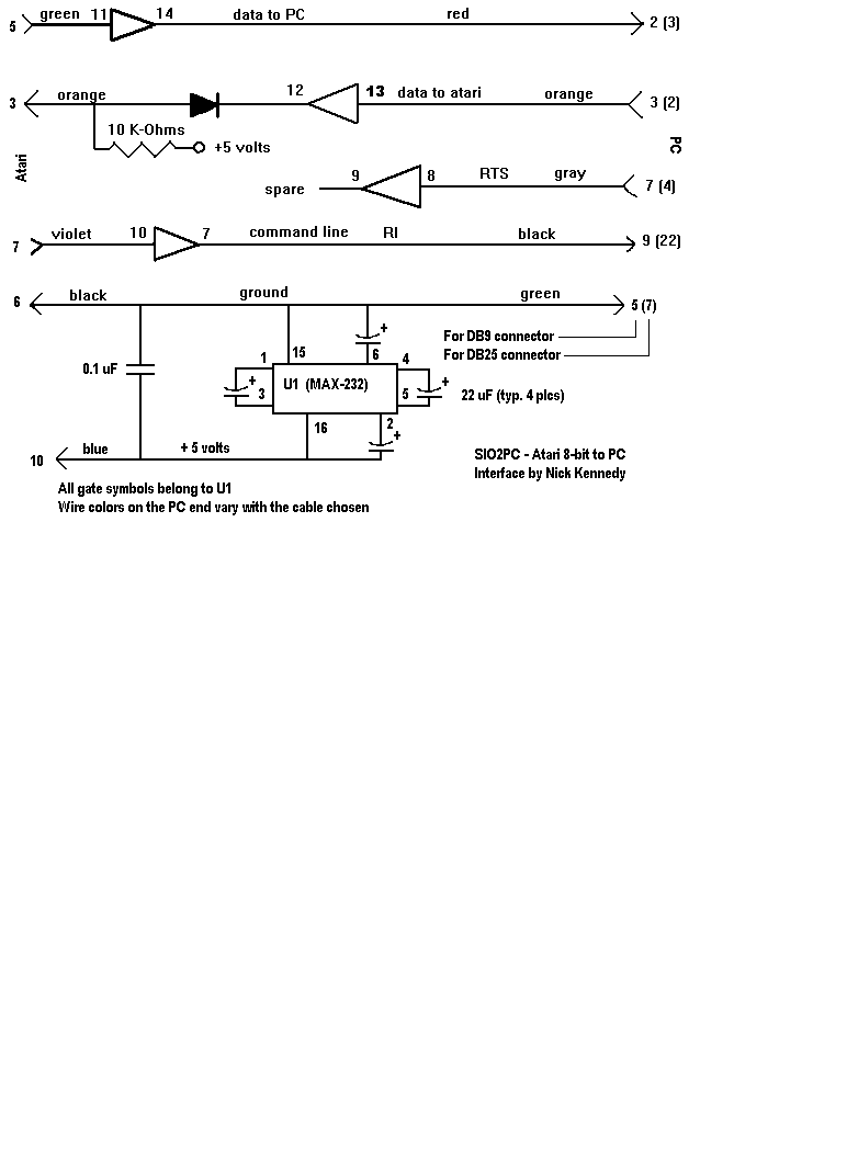
[   ]1SIO2PC.ASC1999-12-31 15:50 1.1K 
[   ]2SIO2PC.ASC1999-12-31 15:50 1.3K 
[   ]3SIO2PC.ASC1999-12-31 15:50 1.4K 
[TXT]BUILD_IT.TXT1999-12-31 15:50 10K 
[   ]KIT_G.PRN1999-12-31 15:50 7.4K 
[IMG]SIO2PC.BMP1999-12-31 15:50 103K 
[IMG]SIO2PC.GIF1999-12-31 15:50 8.8K 
[   ]VIEW_CKT.BAT2015-07-15 11:37 544  

Support us on patreon or patronite or paypal.me
Hosted on supra.link