Support

Step by Step

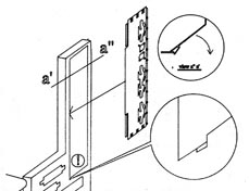
Install MainBoard

step1

step2

step3

Uninstall MainBoard

step1

step2

step3

step4