ISA-Bus Interface für Atari 800XL/130XE Computer © 1993/98 Robü (Roland Bühler)


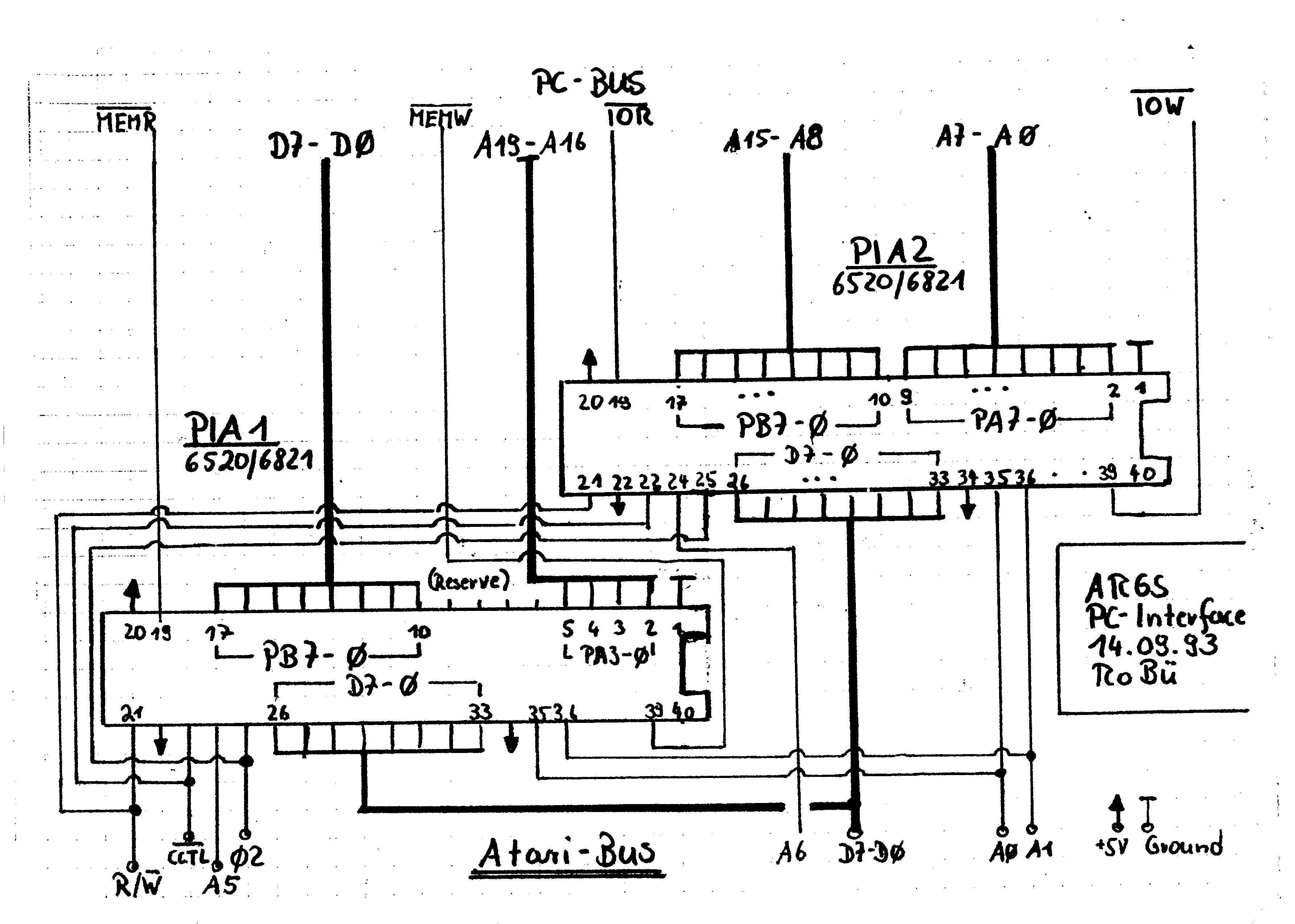
pcintrf_schem.gif  :       Schaltplan im GIF-Format (121 KB)
pcinter6.gif       :       Zeichnung der Platine. GIF-Bild (119 KB)
pcinter5.gif       :       ISA-Bus Pinbelegung. GIF-Bild (121 KB)
pcintrf_text1.gif  :       Erster Teil der Schaltungsbeschreibung. GIF-Bild (157 KB).
pcintrf_text2.gif  :       Letzter Teil der Schaltungsbeschreibung. GIF-Bild (86 KB)

Die Schaltung wurde schon mehrfach nachgebaut und funktioniert mit einigen Herculeskarten ganz gut. Es gibt jedoch Karten, die mit dem Interface nicht klar kommen. Der Grund dafür ist z.T. noch nicht ganz bekannt. Fertig aufgebaute PC-Interfaces mitsamt E:-Handler und passender Hercules-Karte gibt es zum Selbstkostenpreis bei Roland Bühler.


letzte Änderung: 23 Mai 1998

Marek Tomczyk